Technical Beverage Services | An Excelis Company
OEM: 2011816-01 135739
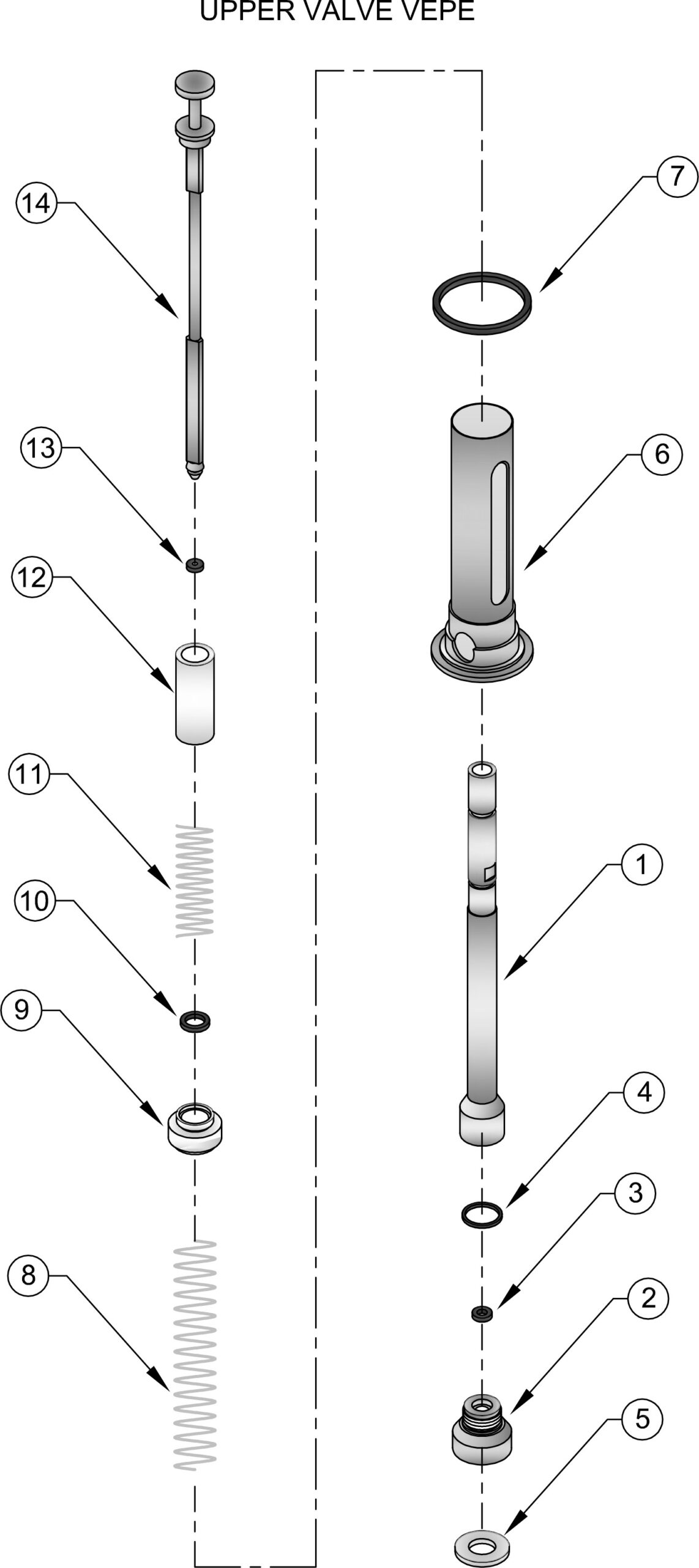
3000-040 GAS NEEDLE VEPE 2011816-001 13 | 2011816-01 135739